地址:江西省上高县科技工业园区(����� �������Ƴ������������ �������Ƴ����������� �������Ƴ������������ �������Ƴ�������320国道旁)
电话:0795-250595����� �������Ƴ������������ �������Ƴ�������5
传真:0795-2505510
邮编:336400
邮箱: 594404593@qq.com
详细内容
(1) 橡胶履带的使用温度一般����� �������Ƴ������������ �������Ƴ����������� �������Ƴ�������在—25~+55℃间。
(2) 化学药品、机油、海水的盐份会加快履带����� �������Ƴ������������ �������Ƴ������������ �������Ƴ������������ �������Ƴ�������的老化,在这样的环境下使����� �������Ƴ������������ �������Ƴ������������ �������Ƴ�������用后要清洗履带。
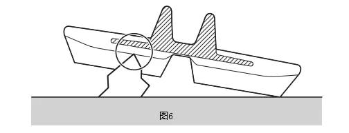
(3) 有锐利突起(如钢筋、石块等)的路面会导����� �������Ƴ������������ �������Ƴ������������ �������Ƴ������������ �������Ƴ�������致橡胶履带外伤。(图6)����� �������Ƴ������������ �������Ƴ������������ �������Ƴ������������ �������Ƴ�������

(4) 道路的边石、车辙或凹凸不平的路����� �������Ƴ������������ �������Ƴ������������ �������Ƴ������������ �������Ƴ������ �������Ƴ������������ �������Ƴ������������ �������Ƴ������������ �������Ƴ������������面会导致履带边缘接地侧����� �������Ƴ������������ �������Ƴ������������ �������Ƴ������������ �������Ƴ�������花纹产生裂纹,这种裂纹未����� �������Ƴ������������ �������Ƴ������������ �������Ƴ�������伤及钢丝帘线时可以继续使����� �������Ƴ������������ �������Ƴ����������� �������Ƴ�������用。(图7)

(5) 砂砾、碎石路面会造成与承����� �������Ƴ������������ �������Ƴ�������重轮接触的橡胶表面早期磨损,形����� �������Ƴ������������ �������Ƴ������������ �������Ƴ�������成小裂口。严重时水份侵入,造成芯铁脱����� �������Ƴ������������ �������Ƴ������������ �������Ƴ�������落、钢丝断裂。
资讯